Eg har jo ein gamal båt - og ein tilsvarande gamal motor. Ein 28 år gamal totaktar Evinrude med 50 hestekrefter. Det er 70 år gamal teknologi som funkar fint. Går som ei klokke når den startar, men den er litt tungstarta innimellom.
Det skjedde ein gong i fjor at den ikkje ville starte. Vi hadde akkurat fylt bensin og skulle starte opp igjen, men startaren gjekk berre rundt utan å ta tak i svinghjulet. Motoren var hedigvis varm så det var uproblematisk å starte den med snor.
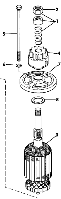
Det viste seg etterpå at mutteren på toppen av startmotoren hadde løsna pga vibrasjonar. Det var imidlertid berre å finne dei tre delane i motorrommet og skru dei på, så var alt ok igjen.
Det same skjedde igjen i år - på det som blei årets nest siste tur då var eg ute med ungane i byrjinga av september. Det blei dessverre ikkje fleire turar i september - litt fordi eg ikkje orka å ta jobben med å leite opp mutter, fjær og låseskive, men mest fordi eg var opptatt med å gjera ferdig uteprosjekt i hagen.
Eg var imidlertid på Biltema og kjøpte meg ein plukkemagnet i løpet av dei føregåande vekene. Det er ei tynn stang som ein kan trekkja ut (som antenna på ein bordradio) med ein magnet i enden. Kjempebra dings - med den fekk eg lett tak i mutteren då eg dro ned til båten i morges for å reparere.
No er nemleg oktober kome. Det er ikkje særleg håp om temperaturar rundt 20 grader lengre, og eg innsåg at det ikkje kom til å bli fleire turar, så det var like greit å ta opplagsjobben i godt ver og nokonlunde fin temperatur. Difor valde eg denne fine dagen då det var meldt 12 grader. 1) Fikse motoren 2) Ta ein liten rundtur i skjærgården og 3) Dra opp båten på henger og avslutte sesongen.
Men så - under punkt 1) reparasjonen: Eg huka på springfjæra og byrja skru på mutteren... så glapp eg litt, og fjæra sendte mutteren i ein perfekt bue rett ut i vatnet bak båten.
FAEN!
Kva svarte skulle eg gjera? Eg titta ned i vatnet, men botnen var mørk av tang og mudder. Ingen mutter å sjå. Kva faen skulle eg gjera?
Eg tok meg saman. Målte dimensjonen på startmotorskruen og heiv meg i bilen til Nor Bunkring i Langesund. Syrefast mutter blei kjøpt for ein femmer og eg dro tilbake til marinaen med litt tvil i sjela, for mutteren likna ikkje mykje på den eg hadde mista.
Og som eg var redd for; dimensjonen på mutter var rett, men gjengane var altfor grove.
Eg satte meg i bilen igjen og gjorde eit forsøk til på ein annan butikk i Langesund der dei har alt mogleg av skruar og mutrar, men ikkje der heller kunne dei hjelpe med riktig mutter.
Eg dro til og med innom ein motorverkstad for å høyra om dei hadde noko slikt. Kanskje ein vrakmotor? Neida. Ingenting.
Så - på veg heim i bilen byrja det demre. Kunne eg få tak i mutteren i vatnet likevel? Kva trengte eg? Ein magnet - stor kraftig, gjerne. Men kor finn eg noko slikt?
Då kom eg på det! Eg hadde ein sjølv! På førre tur til Biltema hadde eg kjøpt magnetskinner til å feste på veggen og henge verktøy på!!
Så eg skunda meg heim og henta veggmagneten i verktøyboden, bandt den i ei snor og dro ned til båten igjen. Og meg til å fiske.... Dyppa den i mudderet gang etter gang, dro den langs botnen, men fekk berre opp alger og tang.
Eg ga imidlertid ikkje opp, og etter ti minutt med fisking såg eg dette då eg dro den opp:
Juhu!!
Sjeldan har eg vore meir nøgd med eiga oppfinnsemd! Mutter blei forsiktig skrudd på igjen, og denne gongen starta Evinruden på første! Årets siste tur var ein realitet og eg kunne feire med is i Brevik!
Det skjedde ein gong i fjor at den ikkje ville starte. Vi hadde akkurat fylt bensin og skulle starte opp igjen, men startaren gjekk berre rundt utan å ta tak i svinghjulet. Motoren var hedigvis varm så det var uproblematisk å starte den med snor.
Det viste seg etterpå at mutteren på toppen av startmotoren hadde løsna pga vibrasjonar. Det var imidlertid berre å finne dei tre delane i motorrommet og skru dei på, så var alt ok igjen.
Det same skjedde igjen i år - på det som blei årets nest siste tur då var eg ute med ungane i byrjinga av september. Det blei dessverre ikkje fleire turar i september - litt fordi eg ikkje orka å ta jobben med å leite opp mutter, fjær og låseskive, men mest fordi eg var opptatt med å gjera ferdig uteprosjekt i hagen.
Eg var imidlertid på Biltema og kjøpte meg ein plukkemagnet i løpet av dei føregåande vekene. Det er ei tynn stang som ein kan trekkja ut (som antenna på ein bordradio) med ein magnet i enden. Kjempebra dings - med den fekk eg lett tak i mutteren då eg dro ned til båten i morges for å reparere.
No er nemleg oktober kome. Det er ikkje særleg håp om temperaturar rundt 20 grader lengre, og eg innsåg at det ikkje kom til å bli fleire turar, så det var like greit å ta opplagsjobben i godt ver og nokonlunde fin temperatur. Difor valde eg denne fine dagen då det var meldt 12 grader. 1) Fikse motoren 2) Ta ein liten rundtur i skjærgården og 3) Dra opp båten på henger og avslutte sesongen.
Men så - under punkt 1) reparasjonen: Eg huka på springfjæra og byrja skru på mutteren... så glapp eg litt, og fjæra sendte mutteren i ein perfekt bue rett ut i vatnet bak båten.
FAEN!
Kva svarte skulle eg gjera? Eg titta ned i vatnet, men botnen var mørk av tang og mudder. Ingen mutter å sjå. Kva faen skulle eg gjera?
Eg tok meg saman. Målte dimensjonen på startmotorskruen og heiv meg i bilen til Nor Bunkring i Langesund. Syrefast mutter blei kjøpt for ein femmer og eg dro tilbake til marinaen med litt tvil i sjela, for mutteren likna ikkje mykje på den eg hadde mista.
Og som eg var redd for; dimensjonen på mutter var rett, men gjengane var altfor grove.
Eg satte meg i bilen igjen og gjorde eit forsøk til på ein annan butikk i Langesund der dei har alt mogleg av skruar og mutrar, men ikkje der heller kunne dei hjelpe med riktig mutter.
Eg dro til og med innom ein motorverkstad for å høyra om dei hadde noko slikt. Kanskje ein vrakmotor? Neida. Ingenting.
Så - på veg heim i bilen byrja det demre. Kunne eg få tak i mutteren i vatnet likevel? Kva trengte eg? Ein magnet - stor kraftig, gjerne. Men kor finn eg noko slikt?
Då kom eg på det! Eg hadde ein sjølv! På førre tur til Biltema hadde eg kjøpt magnetskinner til å feste på veggen og henge verktøy på!!Så eg skunda meg heim og henta veggmagneten i verktøyboden, bandt den i ei snor og dro ned til båten igjen. Og meg til å fiske.... Dyppa den i mudderet gang etter gang, dro den langs botnen, men fekk berre opp alger og tang.
Eg ga imidlertid ikkje opp, og etter ti minutt med fisking såg eg dette då eg dro den opp:
Juhu!!
Sjeldan har eg vore meir nøgd med eiga oppfinnsemd! Mutter blei forsiktig skrudd på igjen, og denne gongen starta Evinruden på første! Årets siste tur var ein realitet og eg kunne feire med is i Brevik!



Kommentarer
Legg inn en kommentar